- Elektrické nářadí
- Ruční nářadí
- Stlačený vzduch
-
Dílna - Stavba
- 267 Brašny-kufry-boxy
- 194 Brusivo
- 375 Dílenské vozíky
- 364 Dílenský nábytek
- 85 Generátory a zdroje
- 612 Kotevní technika
- 85 Manipulační technika
- 130 Montážní technika
- 8 Obráběcí stroje
- 717 Ochranné pomůcky
- 87 Průmyslová chemie
- 93 Svítidla, kabely
- 45 Topení a chlazení
- 270 Tváření otvorů
- 39 Vybavení servisů
- 101 Značkování
- Měřící technika
- Úklid a zahrada
>
Ruční nářadí >
Kleště
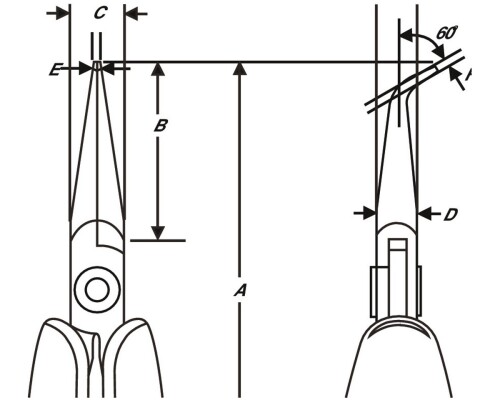
SNIPE NOSE PLIER RX 7892 v kategoriích: Kleště
Zákaznické dotazy
Naposledy prohlížené produkty

Navštivte nás v naší prodejně
Provozujeme specializovaný maloobchodní a velkoobchodní prodej profesionálního nářadí a nástrojů předních světových výrobců a značek v oboru elektrického ručního nářadí, ručního nářadí, příslušenství a nástrojů. Dále u nás najdete techniku pro průmysl, stavebnictví, zahradu a úklid.

Testovací centrum - vyzkoušejte si pořádné nářadí
Provozujme vlastní testovací centrum strojů FESTOOL, FEIN, BOSCH, MAFELL a DREMEL. Zde si můžete vyzkoušet většinu strojů přímo při práci. Pokud nemáte čas na návštěvu testcentra, můžete si objednat návštěvu předváděcího vozu se specializovaným technikem přímo u Vás.




Odebrat z porovnání
Odpoví vám:


+420 724 044 483






